preskoči na glavno besedilo

Natisljive plošče

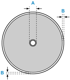
Področje tiskanja natisljive plošče od je od notranjega premera tiskalne plošče oddaljeno 17 mm (0,67 palca), od zunanjega premera pa 1 mm (0,04 palca).

Natisljivo območje

  • A: 17,0 mm (0,67 palca)
  • B: 1,0 mm (0,04 palca)